47GHz トランスバーターの製作 de JA0BQU 07/09/2000
- 本セットはJA0RGP佐藤さんより以下のユニットをほとんど製作してもらったものです。
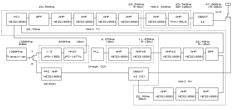
- マキ電機のT/Rユニットを使用したローカル部
- ANT,SW,TXダブラー,受信MIXERの調整と組み込み。
- 23GHz AMP 調整
- 5逓倍ユニットの調整
- JA0DFR浅妻さんより作ってもらったもの
- 5逓倍ユニットの電源部
- 私の製作部分
- 1200MHz Pri AMP部
- 2.2GHz局発部
- 23GHz AMP 部
- 5逓倍ユニット部
- 1/2プリスケーラー部
- 送受信コントロール部
- IF切替部
- ケース組み込み
- DB6NT製関連のパーツ類はJA1EPK大日方さんより入手。(大変お世話になりました)
- 導波管切替器はJA0EOC田中さんの発注で新潟版(垂直偏波)を作っていただきました。
- SMAコネクター、ケーブル、デバイス、はマキ電機、セブロン電子、ハムフェアーなどで購入。
- その他、製作にあたりJA0DFR浅妻さん,JA0HJC小林さん,JA0DWG鎌田さん、
- および、マキ電機、セブロン電子さんにパーツ入手などに大変お世話になりました。
- 同様な構成のトランスバーターは4台ほど完成し、再現性が確認できました。
- JA0RGPセット1号機
- JA0RGPセット2号機
- JA0DWGセット1 セット1-2 セット1-3 セット1-4 セット1-5 セット1-6
- (導波管切替器はセブロン電子製)
- 現在西新潟クラブでは以下の局が47GHz F3,F9(一部SSB可)に移動可能です。
- JA0RGP,JA0DFR,JA0EOC,JA0DWG,JA0HJC,JA0BQU